Der XURON 2175 ist mit einer patentierten Micro-Shear® Klinge ausgestattet. Das vorteilhafte ergonomische Design gepaart mit den exklusiven Xuro-Rubber™ Griffen und Light Touch™ Rückstellfeder sichern dem Anwender den nötigen Komfort. Durch seinen großen Maxi-Shear™ Kopf kann er sowohl für robuste Arbeiten als auch bei feinen Arbeiten auf engen Raum benutzt werden. Die Einsatzgebiete sind in den Bereichen Kabelbearbeitung, Telekommunikation, Schmuckherstellung, Elektronik, Elektrik, Basteln und Perlenaufreihen zu finden. Der 2175 ist für folgende Materialen bis 2 mm Dicke (weicher Draht) geeignet: Draht und Kabeldraht, Fußnägel, Gummidichtungen (Automotiv), Kunststoffkabelbinder, Trennen von Leiterplatten, Golddraht, elektronischer Leitungsdraht, Elektrodraht, Kabelsätze, Kupferdraht, geglühter Draht, Monofilament, Silberdraht, Kunststoffteile, Bilderrahmendraht, Basteldraht, Perlendraht.
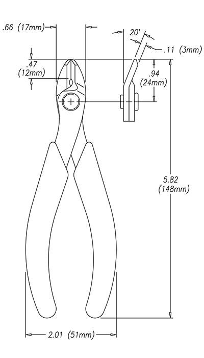
Micro-Shear® Klinge aus legiertem Stahl | ergonomisches Design | Xuro-Rubber™ Griffe | Light Touch™ Rückstellfeder | Gesamtlänge 148 mm | Backenlänge 12 mm | Maximaler Schnitt 12 AWG (2 mm)
Hersteller: XURON Corp - 62 Industrial Park Road - Saco, Maine 04072 - USA - www.xuron.com
Kundenrezensionen
Leider sind noch keine Bewertungen vorhanden. Seien Sie der Erste, der das Produkt bewertet.
Sie müssen angemeldet sein um eine Bewertung abgeben zu können. Anmelden